ÐË·¢ÓÎÏ·187pt

BM200ϵÁиôÀëʽÇå¾²Õ¤

  • ²úÆ·¼ò½é
  • ÊÖÒÕ²ÎÊý
  • Ó¦ÓÃ×éÍøÍ¼
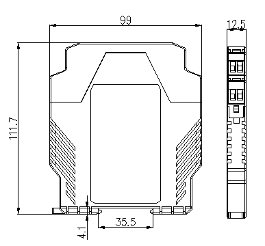
  • ÐÎ×´³ß´ç
  • ²úÆ·±¨¼Û
¹¦Ð§£º
BM200ϵÁиôÀëʽÇå¾²Õ¤½ÓÄÉÁËÏÞѹ¡¢ÏÞÁ÷¡¢¸ôÀëµÈ²½·¥£¬£¬ £¬£¬£¬£¬£¬²»µ«ÄܱÜÃâΣÏÕÄÜÁ¿´Ó±¾°²¶Ë×Ó½øÈëΣÏÕÏÖ³¡£¡£¡£¡£¡£¬£¬ £¬£¬£¬£¬£¬Ìá¸ßϵͳµÄ±¾°²·À±¬ÐÔÄÜ£¬£¬ £¬£¬£¬£¬£¬²¢ÇÒÔöÌíÁËϵͳµÄ¿¹×ÌÈÅÄÜÁ¦£¬£¬ £¬£¬£¬£¬£¬Ìá¸ßÁËϵͳÔËÐеĿɿ¿ÐÔ¡£¡£¡£¡£¡£
 
Ó¦ÓùæÄ££º
Ó¦ÓÃÓÚʯÓÍ¡¢×ÔÈ»Æø¿ª²É¡¢Á¶ÓÍ¡¢»¯¹¤¡¢È¼ÓÍÈ¼Æø³ä×°Õ¾¡¢ÖÆÒ©¡¢ÎÛË®´¦Öóͷ£µÈ³¡¾°¡£¡£¡£¡£¡£
 
¶©»õ¹æ·¶£º
ÏêϸÐͺţºBM200-DI/I-C12
ÊÖÒÕÒªÇó£ºÊäÈë1·DC 4-20mA£»£»£»£»£»Êä³ö2·DC 4-20mA£»£»£»£»£»×¼È·¼¶0.2¼¶¡£¡£¡£¡£¡£
ͨѶЭÒ飺ÎÞ
¸¨ÖúµçÔ´£ºDC24V
¿Í·þ1
¿Í·þ2
¿Í·þ3
¿Í·þ4
ÍøÕ¾µØÍ¼